Etter alt å dømme kommer det en ny Sram Red-gruppe i løpet av 2024. Nå er også bilder av den lekket i sosiale medier. Allerede nå vet vi en del om hva som kommer.
Det er brukeren @MoBaohua som har lekket bildene på sin X-konto (tidligere Twitter), men det er ikke oppgitt hvor bildene kommer fra. Sram har heller ikke uttalt seg rundt dette.
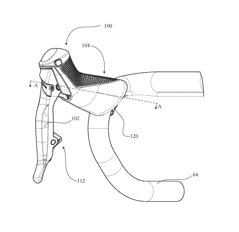
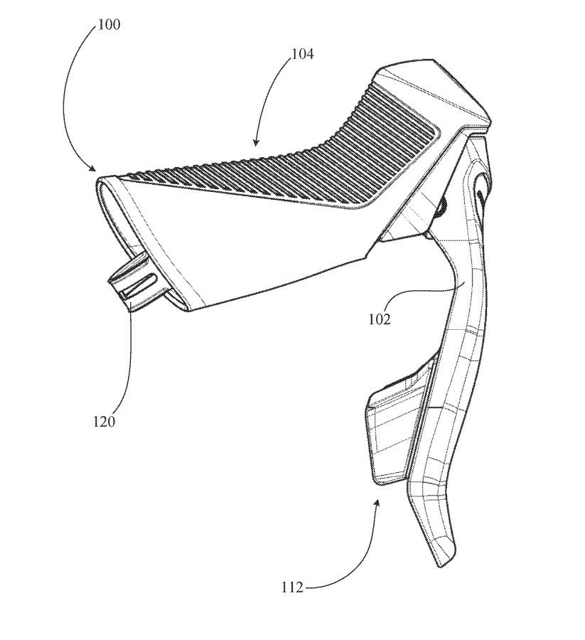
NY UTFORMING: Hendlene til gruppen er radikalt overhalt.
Endrer form og design
I fjor høst søkte også Sram om patent på den nye gruppen hos USPTO (United States Patent and Trademark Office).
Dokumentet, som er en teknisk og figurativ forklaring av et produkt, ble sendt inn i august, og inneholder tegninger og forklaringer, og skal til godkjenning for patentering.
Der kunne en allerede se at de nye Red-hendlene vil ha et ganske annerledes design og ergonomi, og dette går også igjen i de lekkede bildene.
Har du litt små hender så vil du nok ha opplevd de nåværende Red-hendlene som ganske massive. I forhold til Shimano har de hatt ganske stort volum og oversiden har vært litt firkantet, som ikke har gjort ergonomien til den beste.
Ut ifra bildene ser det ut som de er blitt ganske inspirert av Shimano sine GRX Di2-hendler, altså hendlene tilhørende Shimanos elektroniske grus-girgruppe.
I tillegg ser man at selve bremsebladet nå er mye mer vinklet, som gjør at hendlene vil passe bedre med styrer med flare (utsving) og den trenden med vinklede hendler.
Selve girknappen er også mindre. Det vil gi mer rom til bremsing og justering av bremsebladet, uten at det toucher inn i styret.
Det fremgår også av dokumentene at det skal være mulig å justere bremsepunktet uten verktøy.
SHIMANO-INSPIRERT?: De nye Sram-hendlene minner veldig om Shimanos GRX-hendler. Foto: Shimano
Det er ikke bare det utvendige designet og ergonomi som er endret, patent-dokumentene forteller også en del om innvendige endringer.
Bremsemekanismen, altså hvor et stempel skaper trykk i bremsevæsken og aktiverer bremsingen, har inntil nå vært en trekkstang som beveger stempelet, men blir nå en skyve-mekanisme, som også Shimano har.
Øverst i hendelen får en da plass til et væskelager, som skal redusere sjansene for luft i systemet og følgelig gi lavere hyppighet av behov for lufting av bremsene.
De siste årene er det kommet både nye Apex, Rival og Force-grupper, med noen endringer i designet, men ikke de store.
Nå blir det åpenbart en ganske radikal endring med den nye Red-gruppen, så vil tiden vise om endringen også følger nedover på stigen i Sram-rekkene.
Den nye Kask-hjelmen har et radikalt design, som sikkert ikke er mot kalde ører, men kanskje det også er en effekt?
Lavere vekt?
Sram og Shimano sine toppgrupper, altså henholdsvis Red AXS og Dura-Ace Di2, har de siste årene ikke hatt stor forskjell i vekt, men Shimano har var hakket lettere.
Vektforskjellen har vært på mellom 50 og 100 gram, alt ut ifra om du har med wattmåler eller ikke og størrelse på kassett.
Selv om Shimano fremdeles er størst, vokser stadig Sram og vinner markedsandeler. Når det kommer til grussykling er det faktisk Sram som dominerer.
Og de ønsker selvsagt å fortsette veksten, og vippe tidligere nedsider til sin fordel, blant annet vekten.
Ser vi bildene av bakgiret og bremsekaliperen/skiven, er det ganske tydelig at de har jobbet for å spare inn vekt.
Bakgiret ser ganske luftig og skrapet ut. Bremseskivene er fremdeles centerline, men har også fått en overhaling og ser ut til å ha mindre masse (ergo lettere).
Hva mer kan vi forvente?
Sram har også tilsynelatende beholdt sine helt egne girkombinasjoner, og det ti tenner lille tannhjulet nederst på kassetten.
Da den forrige Red-gruppen ble lansert, gikk Sram over til kranker med mindre drev, 48/35T og 46/33T. Det sparte vekt, det samme gjorde tier-tannhjulet, som samtidig sørget for at du får det tunge giret du trenger i høy fart.
Om tier-tannhjulet kom til å vedvare har vært et stort spørsmål for mange nerder og eksperter, ettersom friksjonstester har vist at mindre tannhjul er mindre effektivt.
Det ser imidlertid ut at Sram har valgt å fortsette med det, og følgelig kan vi også anta at drev-kombinasjonene blir de samme.
Interessant blir det imidlertid å se hva de har gjort med drevene. Har de også gjort grep for å spare ytterligere på vekt her, slik som med bakgiret?
På den forrige generasjonen var drevene støpt sammen (også for å spare vekt), noe som gjør at du må bytte ut hele drevet om du har slitt det ut eller vil bytte drev-utveksling.
Det gjelder også om du har kranksett med wattmåler. Om noe slutter å fungere/blir slitt ut, må du skifte hele greia.
Holder de på dette, eller gjør de det mer brukervennlig? Denne brukervennligheten får en riktignok med de billigere gruppene til Sram, så sånn sett har en alternativer.
Foran har det har også vært mindre pålitelig enn Shimano. Ved giring fra store til lilleskiva har kjedet falt av uforholdsmessig mye. Det er et kjent problem og noe Landevei også har erfart. Forhåpentlig er kraftig forbedret på den nye generasjonen.
Frontskifteren er også ganske stor, så det kan være den også er blitt mindre. Samtidig skal også batteriet passe på den, så batteriet må muligens bli mindre – uten at det går på bekostning av batteritid.
Allerede abonnent?
Landevei er Norges største og beste sykkelnettsted
Med magasinKun digitalt
99 kr/md i 12 md*
+ 8 utgaver av Fri Flyt magasin
119 kr/md i 3 md*
+ 2 utgaver av Fri Flyt magasin
*Forutsetter 6 eller 12 måneder bindingstid. Kanselleres når du vil, med tilgang ut bindingstiden. Fornyes automatisk hver måned etter bindingstiden.
Er du under 28 år?
Da får du halv pris på landevei.
Slik fungerer det:Betal med Vipps, del fødselsdatoen din med oss og få halv pris fram til du fyller 28 år. Når du har fylt 28 år endrer vi til vanlig pris, og sender deg et varsel i forkant.
Alle abonnement fornyes automatisk til ordinærpris. Kanseller når du vil, men senest 48 timer før fornyelse. Se Fri Flyts bruker- og abonnementsvilkår her.